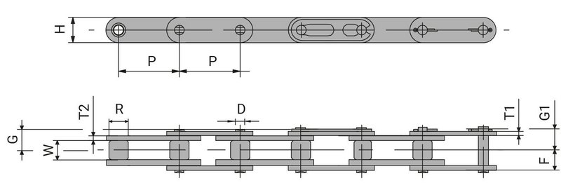
Rozměry válečkových řetězů s dlouhými články C2100H - DIN 8181

Válečkové řetězy s dlouhými články C2100H, vyráběné podle ISO 1275, mají rozteč 63,50 mm (2 1/2").

 

Upozornění: Tyto rozměry odpovídají ISO a mohou se u vysoce výkonných řetězů FB nepatrně lišit. Podrobné informace vám podají specialisté na řetězy ve firmě FB.